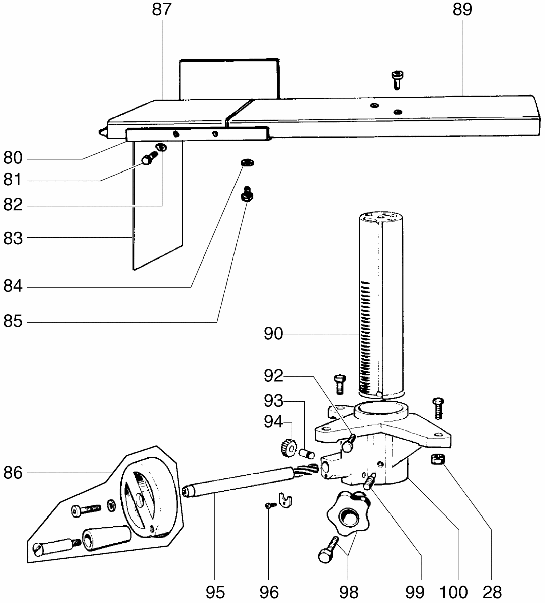
Zeichnung 4

Ersatzteile für Metabo MULTI 260 SW - KOMBIMASCHINE aus Zeichnung 4:

Zeichnung 4

Sollten Sie Fragen zu einem Ersatzteil von Metabo MULTI 260 SW - KOMBIMASCHINE 690026 69002600811 haben, können Sie uns gerne eine E-Mail (mit einem Foto vom Typenschild Ihres Gerätes) schreiben oder eine Ersatzteilanfrage stellen.

Folgende Ersatzteile für Metabo MULTI 260 SW - KOMBIMASCHINE können Sie hier bestellen:
Artikel 1 - 3 von 3


Artikel 1 - 3 von 3