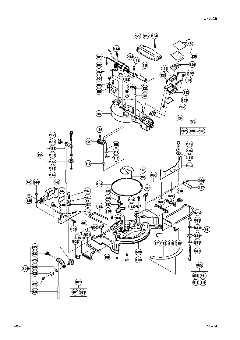
Zeichnung 2

Ersatzteile für Hikoki (Hitachi) C12LCH - Kapp- und Gehrungssäge

Zeichnung

Sollten Sie Fragen zu einem Ersatzteil vom Hikoki (Hitachi) C12LCH - Kapp- und Gehrungssäge haben, können Sie uns gerne eine E-Mail (mit einem Foto vom Typenschild Ihres Gerätes) schreiben oder eine Ersatzteilanfrage stellen.

Folgende Ersatzteile für Hikoki (Hitachi) C12LCH - Kapp- und Gehrungssäge können Sie hier bestellen:
Artikel 1 - 40 von 57


Artikel 1 - 40 von 57