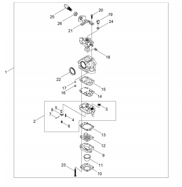
Vergaser WYK-322

Zeichnung von shindaiwa Bläser EB8520RT EB8520RT ab S.-Nr.: 37032671 Vergaser WYK-322:

Klicken Sie auf diese Zeichnung

Sollten Sie Fragen zu einem Ersatzteil haben, können Sie uns gerne eine Ersatzteilanfrage stellen.

Hier finden Sie alle Ersatzteile von shindaiwa Bläser EB8520RT EB8520RT ab S.-Nr.: 37032671:
Artikel 1 - 20 von 23


Artikel 1 - 20 von 23