Steckdose | Bison mit Kubota GH 400

Ersatzteile für Agria # Geräteträger # agria 5900 # Art-Nr 5900121 | agria 5900 Bison # Elektrische Anlage # Steckdose | Bison mit Kubota GH 400

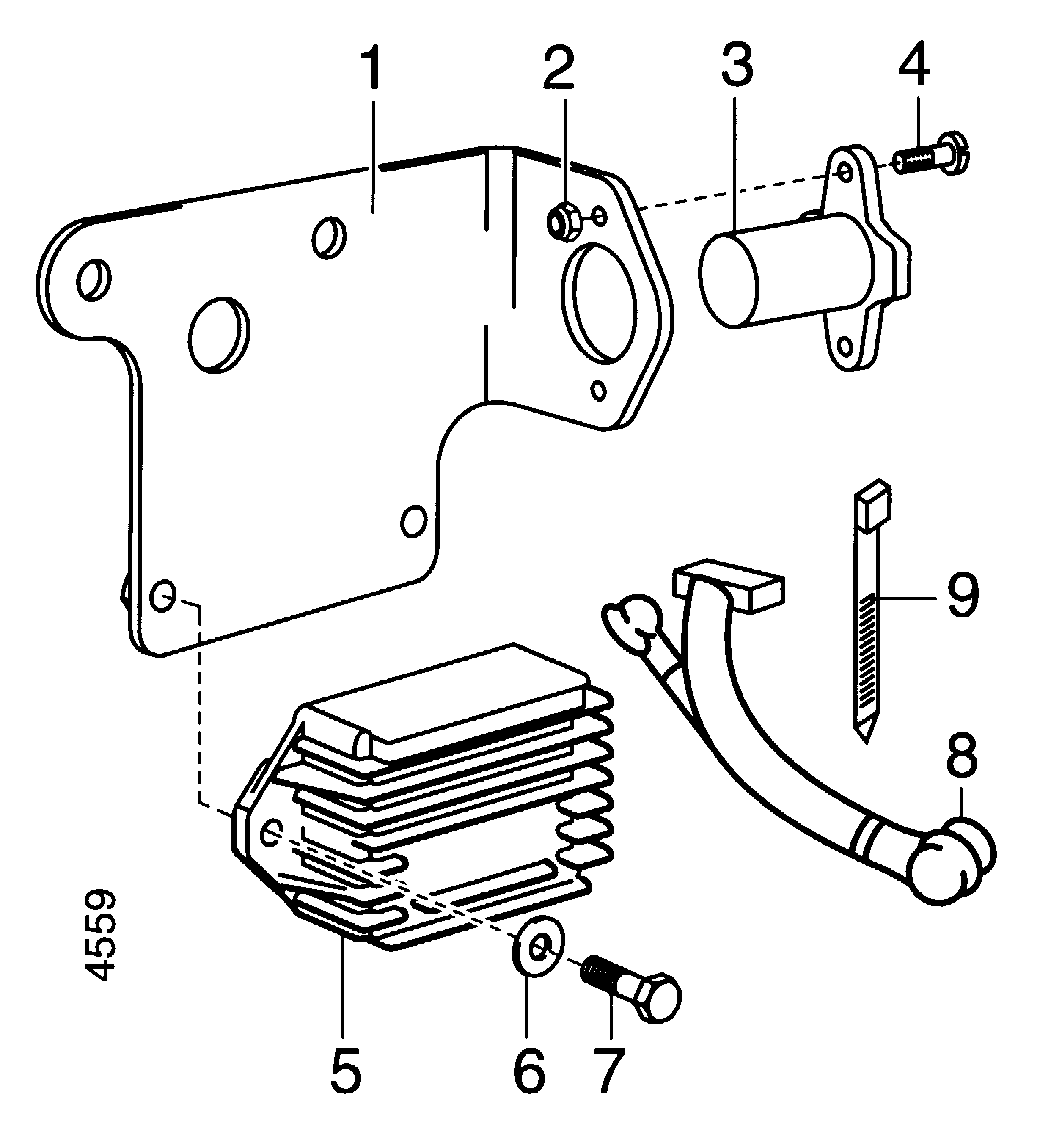
Zeichnung

Sollten Sie Fragen zu einem Ersatzteil für Agria Geräteträger haben, können Sie uns gerne eine E-Mail (mit einem Foto vom Typenschild Ihres Gerätes) schreiben oder eine Ersatzteilanfrage stellen.

Folgende Ersatzteile für Agria # Geräteträger # agria 5900 # Art-Nr 5900121 | agria 5900 Bison # Elektrische Anlage # Steckdose | Bison mit Kubota GH 400 können Sie hier bestellen:
Artikel 1 - 9 von 9


Artikel 1 - 9 von 9