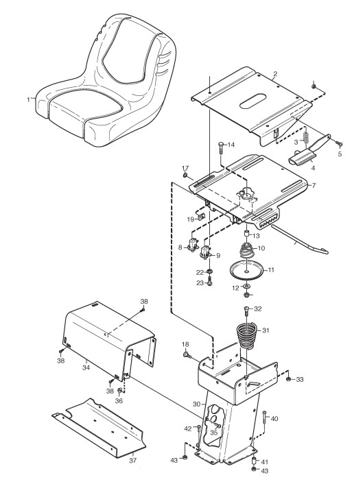
Sitz

Zeichnung von Castelgarden Park Consumer High XKH4 165 HD (13-6197-85) ab 2009:

Klicken Sie auf diese Zeichnung

Sollten Sie Fragen zu einem Ersatzteil haben, können Sie uns gerne eine Ersatzteilanfrage stellen.

Hier finden Sie alle Ersatzteile von Castelgarden Park Consumer High XKH4 165 HD (13-6197-85) ab 2009 aus der Zeichnung Sitz:
Artikel 1 - 20 von 32


Artikel 1 - 20 von 32