Schneidwerkzeug mit elektromagnetischer Kupplung

Zeichnungen von Stiga Aufsitzmäher TORNADO 3098 mit Geräte Nr. 2T0520281/14 ab Baujahr 2017

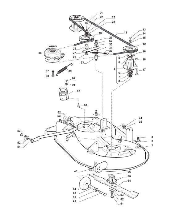
Zeichnung


Beachten Sie bitte, dass die Gerätebezeichnung Stiga Aufsitzmäher TORNADO 3098, das Baujahr ab 2017 und die Geräte Nr. 2T0520281/14 lauten muss, denn nur so kann sichergestellt werden, dass das Ersatzteil passt.
Nur die hier aufgeführten Ersatzteile sind für dieses Gerät verfügbar. Alle anderen Ersatzteile sind nicht mehr lieferbar.
Ersatzteile von Stiga Aufsitzmäher TORNADO 3098 (Geräte-ID 2T0520281/14) ab 2017:
Artikel 1 - 20 von 62