Schmutzwasserpumpe GC-DP 3730, EX, ARG ( 4170472 )

Ersatzteile für Einhell Classic Schmutzwasserpumpe GC-DP 3730, EX, ARG ( 4170472 )

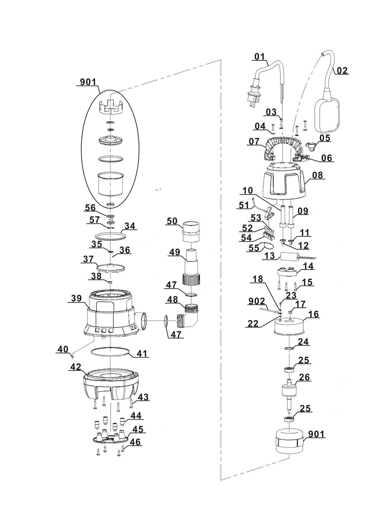
Zeichnung

Sollten Sie Fragen zu einem Ersatzteil vom Einhell Classic Schmutzwasserpumpe GC-DP 3730, EX, ARG ( 4170472 ) haben, können Sie uns gerne eine E-Mail (mit einem Foto vom Typenschild Ihres Gerätes) schreiben oder eine Ersatzteilanfrage stellen.

Folgende Ersatzteile für Einhell Classic Schmutzwasserpumpe GC-DP 3730, EX, ARG ( 4170472 ) können Sie hier bestellen:
Artikel 1 - 20 von 50


Artikel 1 - 20 von 50