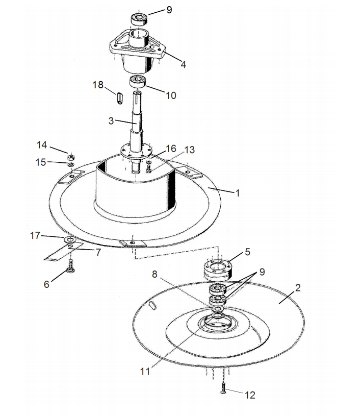
Rotor

Zeichnung von Erco Hochgrasmäher ETM-864HV Rotor:

Klicken Sie auf diese Zeichnung

Sollten Sie Fragen zu einem Ersatzteil haben, können Sie uns gerne eine Ersatzteilanfrage stellen.

Hier finden Sie alle Ersatzteile von Erco Hochgrasmäher ETM-864HV aus der Zeichnung Rotor:
Artikel 1 - 12 von 12


Artikel 1 - 12 von 12