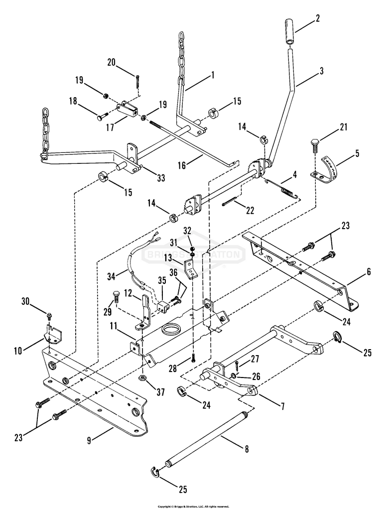
Rails, Lift Arms, Cam Lift

Zeichnung Snapper 88038 - Y30120, 30" 12 HP Mid-Duty Commercial Estate Mower Series 0 - Zeichnungsgruppe Rails, Lift Arms, Cam Lift:

Zeichnung

Sollten Sie Fragen zu einem Ersatzteil haben, können Sie uns gerne eine Ersatzteilanfrage stellen.

Hier finden Sie alle Ersatzteile von Snapper 88038 - Y30120, 30" 12 HP Mid-Duty Commercial Estate Mower Series 0 der Zeichnungsgruppe Rails, Lift Arms, Cam Lift:
Artikel 1 - 20 von 28


Artikel 1 - 20 von 28