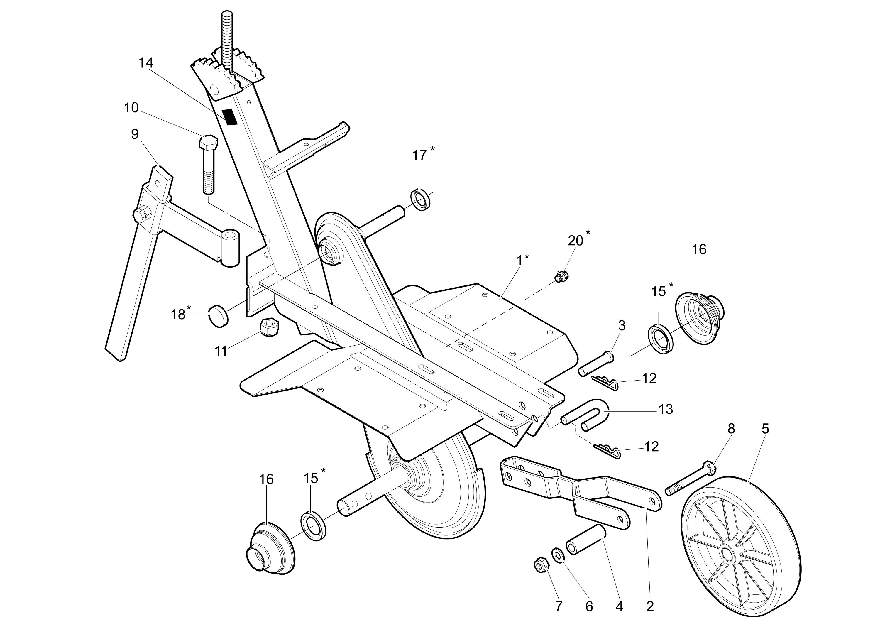
Rahmen (Lenkstange Einstellbare)

Zeichnung Bertolini Motorhacke 202 (EN 709) (K800 H - SN T210):

Klicken Sie auf diese Zeichnung

Sollten Sie Fragen zu einem Ersatzteil haben, können Sie uns gerne eine Ersatzteilanfrage stellen.

Hier finden Sie alle Ersatzteile für Bertolini Motorhacke 202 (EN 709) (K800 H - SN T210) aus der Zeichnung für Rahmen (Lenkstange Einstellbare):
Artikel 1 - 19 von 19

24,28 € *
Lieferzeit: 2 - 10 Werktage

Artikel 1 - 19 von 19