Räder

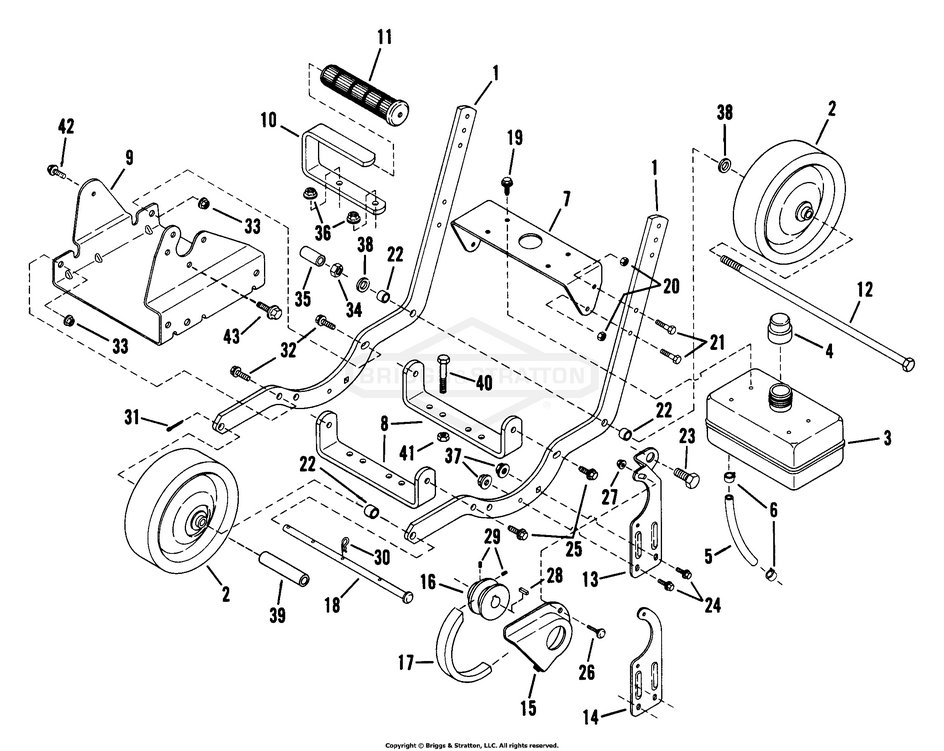
Zeichnung Snapper 88320 - ET200B, 2 HP Edger Trimmer Series 0 - Zeichnungsgruppe Räder:

Zeichnung

Sollten Sie Fragen zu einem Ersatzteil haben, können Sie uns gerne eine Ersatzteilanfrage stellen.

Hier finden Sie alle Ersatzteile von Snapper 88320 - ET200B, 2 HP Edger Trimmer Series 0 der Zeichnungsgruppe Räder:
Artikel 1 - 20 von 26


Artikel 1 - 20 von 26