Ölpumpe

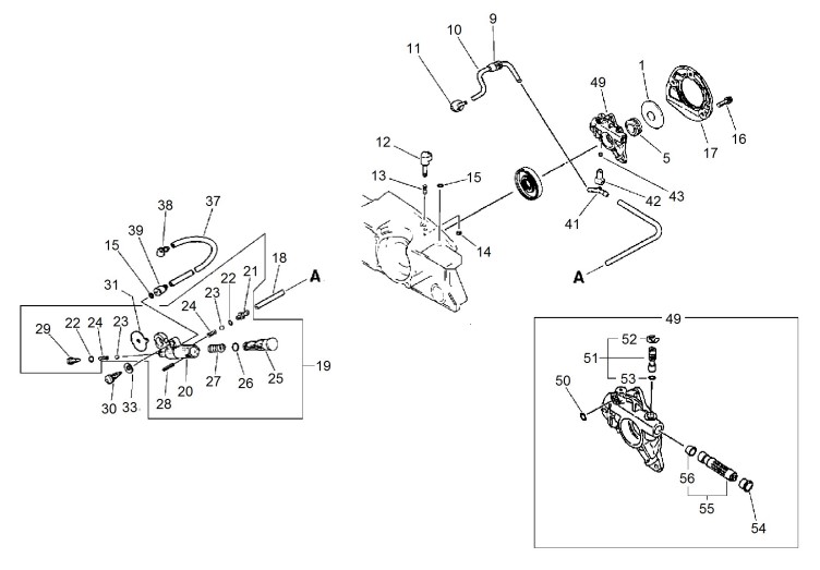
Zeichnung von ECHO Motorsägen CS-6701 CS-6701 ohne Dekompressionsventil Ölpumpe:

Klicken Sie auf diese Zeichnung

Sollten Sie Fragen zu einem Ersatzteil haben, können Sie uns gerne eine Ersatzteilanfrage stellen.

Hier finden Sie alle Ersatzteile von ECHO Motorsägen CS-6701 CS-6701 ohne Dekompressionsventil:
Artikel 1 - 20 von 37


Artikel 1 - 20 von 37