Motor

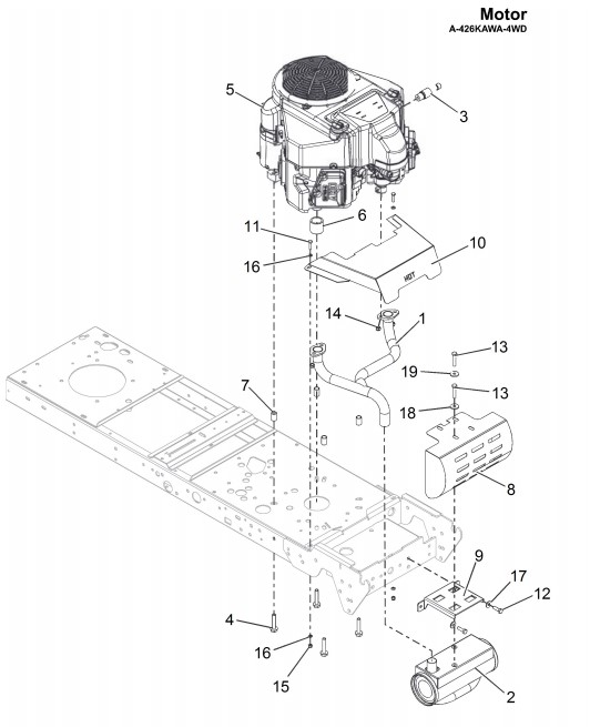
Zeichnung von ECHO-Motorgeräte Rasentraktoren A-Serie A-426KAWA-4WD - 2016-06 A-426KAWA-4WD ab Juni 2016 Motor:

Klicken Sie auf diese Zeichnung

Sollten Sie Fragen zu einem Ersatzteil haben, können Sie uns gerne eine Ersatzteilanfrage stellen.

Hier finden Sie alle Ersatzteile von ECHO-Motorgeräte Rasentraktoren A-Serie A-426KAWA-4WD - 2016-06 A-426KAWA-4WD ab Juni 2016:
Artikel 1 - 10 von 10


Artikel 1 - 10 von 10