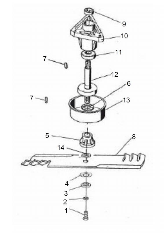
Messerwelle, Messer

Zeichnung von Erco Hochgrasmäher EWM-755HV Messerwelle, Messer:

Klicken Sie auf diese Zeichnung

Sollten Sie Fragen zu einem Ersatzteil haben, können Sie uns gerne eine Ersatzteilanfrage stellen.

Hier finden Sie alle Ersatzteile von Erco Hochgrasmäher EWM-755HV aus der Zeichnung Messerwelle, Messer:
Artikel 1 - 13 von 13


Artikel 1 - 13 von 13