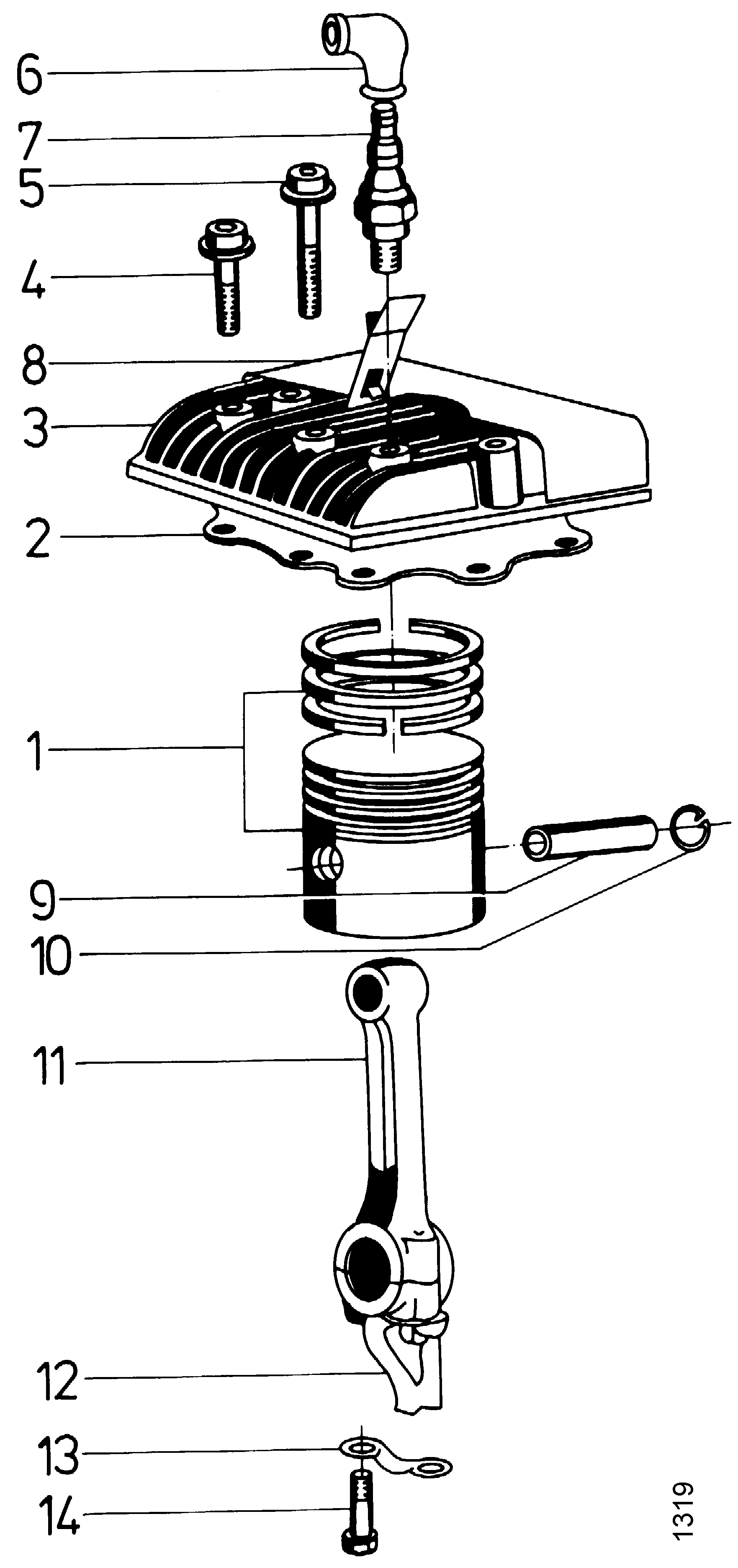
Kolben, Pleuel, Zylinderkopf, B&S 130202-1787

Ersatzteile für Agria # Balkenmäher # agria 5300 # Art-Nr 5300231 | agria 5300 O BALK M RAD 4T 3,2KW # Motor Einzelteile # Kolben, Pleuel, Zylinderkopf, B&S 130202-1787

Zeichnung

Sollten Sie Fragen zu einem Ersatzteil für Agria Balkenmäher haben, können Sie uns gerne eine E-Mail (mit einem Foto vom Typenschild Ihres Gerätes) schreiben oder eine Ersatzteilanfrage stellen.

Folgende Ersatzteile für Agria # Balkenmäher # agria 5300 # Art-Nr 5300231 | agria 5300 O BALK M RAD 4T 3,2KW # Motor Einzelteile # Kolben, Pleuel, Zylinderkopf, B&S 130202-1787 können Sie hier bestellen:
Artikel 1 - 12 von 12


Artikel 1 - 12 von 12