Kolben, Pleuel, Zylinderkopf | B&S 130202-1787, B&S 130202-3170

Ersatzteile für Agria # Motorhacken # agria 0100 # Art-Nr 0100501 | agria 0100 45CM # Motor Einzelteile # Kolben, Pleuel, Zylinderkopf | B&S 130202-1787, B&S 130202-3170

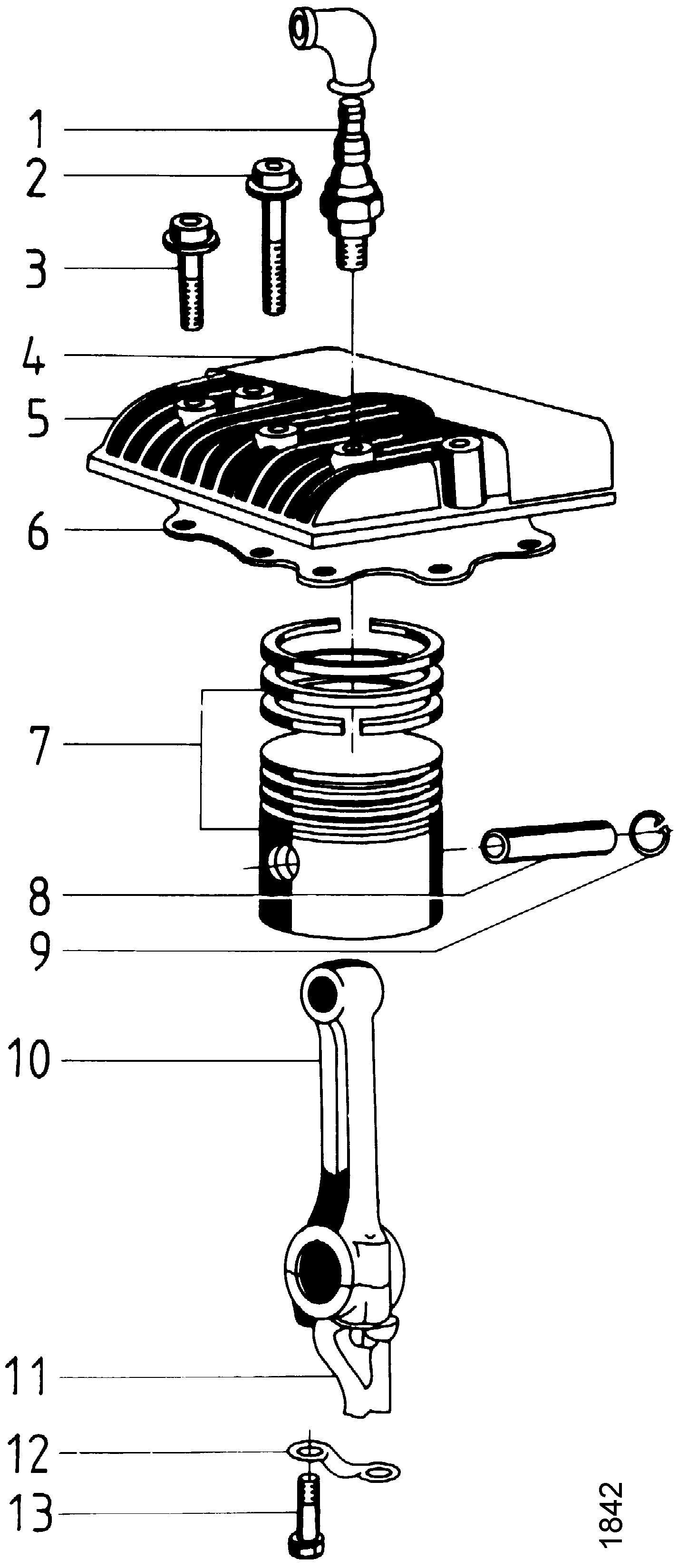
Zeichnung

Sollten Sie Fragen zu einem Ersatzteil für Agria Motorhacken haben, können Sie uns gerne eine E-Mail (mit einem Foto vom Typenschild Ihres Gerätes) schreiben oder eine Ersatzteilanfrage stellen.

Folgende Ersatzteile für Agria # Motorhacken # agria 0100 # Art-Nr 0100501 | agria 0100 45CM # Motor Einzelteile # Kolben, Pleuel, Zylinderkopf | B&S 130202-1787, B&S 130202-3170 können Sie hier bestellen:
Artikel 1 - 11 von 11


Artikel 1 - 11 von 11