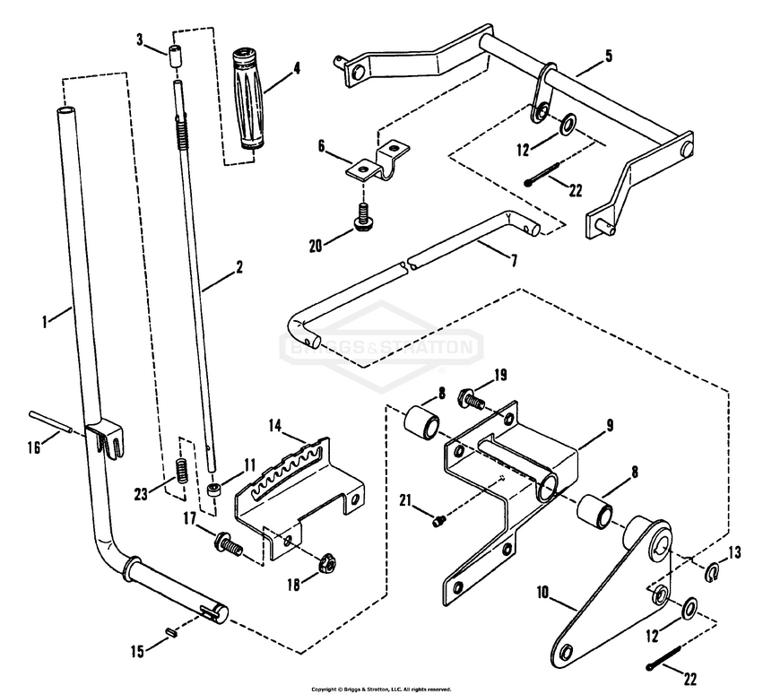
Implement Lift Parts

Zeichnung Snapper 82060 - YT16D334B, 33" 16 HP Disc Drive Yard Tractor Series 4 aus der Zeichnungsgruppe Implement Lift Parts:

Zeichnung

Sollten Sie Fragen zu einem Ersatzteil haben, können Sie uns gerne eine Ersatzteilanfrage stellen.

Hier finden Sie alle Ersatzteile von Snapper 82060 - YT16D334B, 33" 16 HP Disc Drive Yard Tractor Series 4 der Zeichnungsgruppe Implement Lift Parts:
Artikel 1 - 14 von 14


Artikel 1 - 14 von 14