Holme

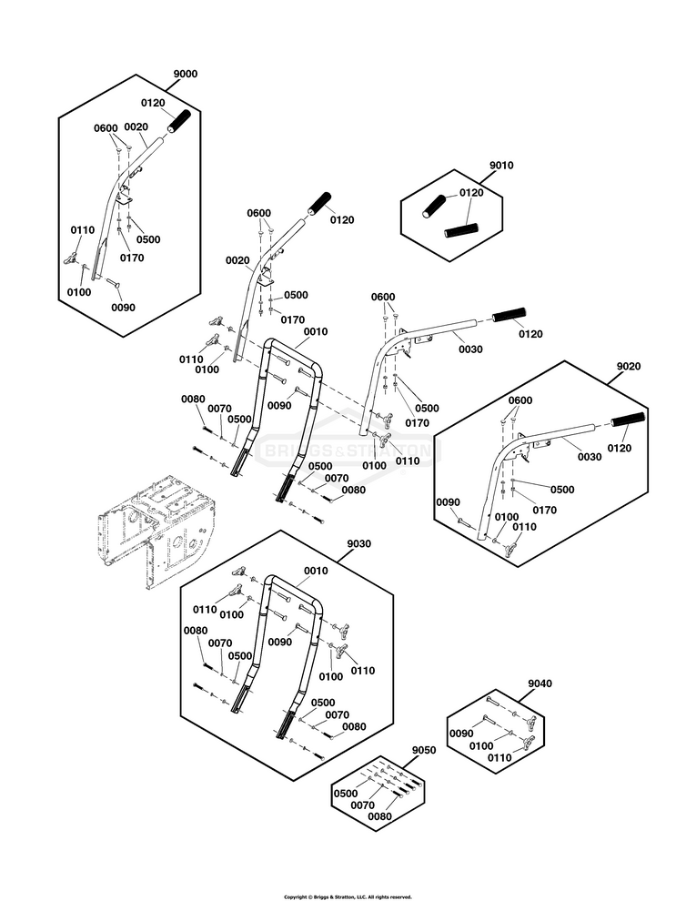
Zeichnung Murray Schneefräse 1697330-00 - S1026, 9.5 Gross TP 26" Dual Stage Snowthrower (2020):

Zeichnung 1

Sollten Sie Fragen zu einem Ersatzteil haben, können Sie uns gerne eine Ersatzteilanfrage stellen.

Hier finden Sie alle Ersatzteile von Murray Schneefräse 1697330-00 - S1026, 9.5 Gross TP 26" Dual Stage Snowthrower (2020) der Zeichnungsgruppe Holme:
Artikel 1 - 2 von 2


Artikel 1 - 2 von 2