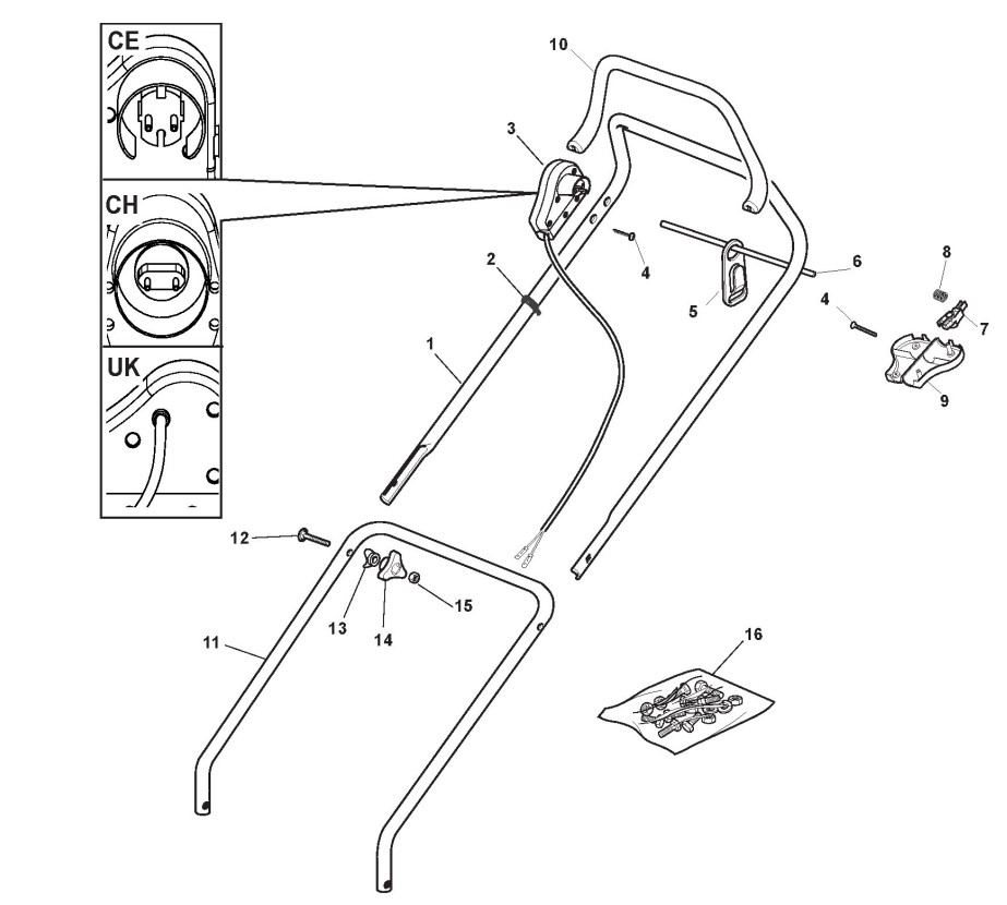
Holm, Oberteil

Zeichnung von Castelgarden Elektrorasenmäher XP 43 EL (Geräte ID 294410663/P6) ab 2007:

Klicken Sie auf diese Zeichnung

Sollten Sie Fragen zu einem Ersatzteil haben, können Sie uns gerne eine Ersatzteilanfrage stellen.

Hier finden Sie alle Ersatzteile von Castelgarden Elektrorasenmäher XP 43 EL (Geräte ID 294410663/P6) ab 2007 aus der Zeichnung Holm, Oberteil:
Artikel 1 - 14 von 14


Artikel 1 - 14 von 14