Holm, Oberteil

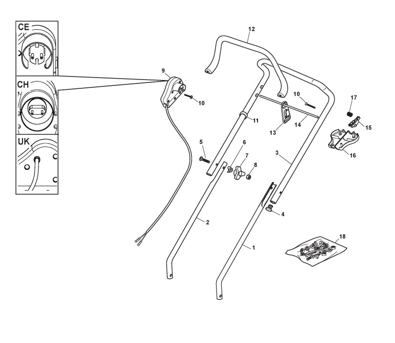
Zeichnung von Castelgarden Elektrorasenmäher SP 350 (Geräte ID 297353653/06) ab 2010:

Klicken Sie auf diese Zeichnung

Sollten Sie Fragen zu einem Ersatzteil haben, können Sie uns gerne eine Ersatzteilanfrage stellen.

Hier finden Sie alle Ersatzteile von Castelgarden Elektrorasenmäher SP 350 (Geräte ID 297353653/06) ab 2010 aus der Zeichnung Holm, Oberteil:
Artikel 1 - 30 von 30


Artikel 1 - 30 von 30