Holm, Bedienelemente

Zeichnungen von Stiga Schneefräsen SNOW BUSTER mit Geräte Nr. 18-2854-23 ab Baujahr 2004

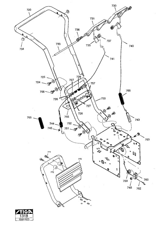
Zeichnung


Beachten Sie bitte, dass die Gerätebezeichnung Stiga Schneefräsen SNOW BUSTER, das Baujahr ab 2004 und die Geräte Nr. 18-2854-23 lauten muss, denn nur so kann sichergestellt werden, dass das Ersatzteil passt.
Nur die hier aufgeführten Ersatzteile sind für dieses Gerät verfügbar. Alle anderen Ersatzteile sind nicht mehr lieferbar.
Ersatzteile von Stiga Schneefräsen SNOW BUSTER (Geräte ID 18-2854-23) Baujahr ab Bj 2004:
Artikel 1 - 20 von 24

10,56 € *
Lieferzeit: 2 - 10 Werktage
6,60 € *
Lieferzeit: 2 - 10 Werktage
4,64 € *
Lieferzeit: 2 - 10 Werktage
6,28 € *
Lieferzeit: 2 - 10 Werktage

Artikel 1 - 20 von 24