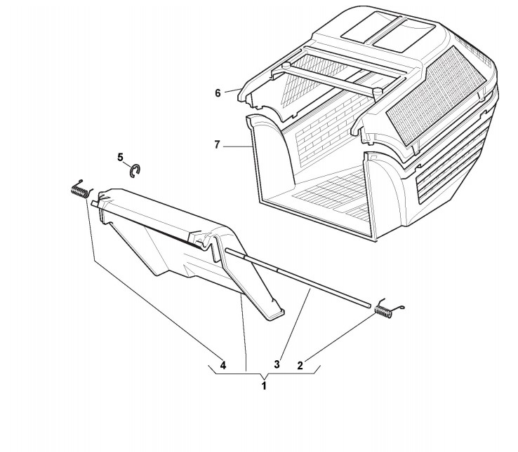
Grasfangeinrichtung

Zeichnung von Castelgarden Benzinrasenmäher ab 2008 TDL 534 TR/EB+M (ID 294538523/F8):

Klicken Sie auf diese Zeichnung

Sollten Sie Fragen zu einem Ersatzteil haben, können Sie uns gerne eine Ersatzteilanfrage stellen.

Hier finden Sie alle Ersatzteile von Castelgarden Benzinrasenmäher ab 2008 TDL 534 TR/EB+M (ID 294538523/F8) aus der Zeichnung Grasfangeinrichtung:
Artikel 1 - 7 von 7


Artikel 1 - 7 von 7