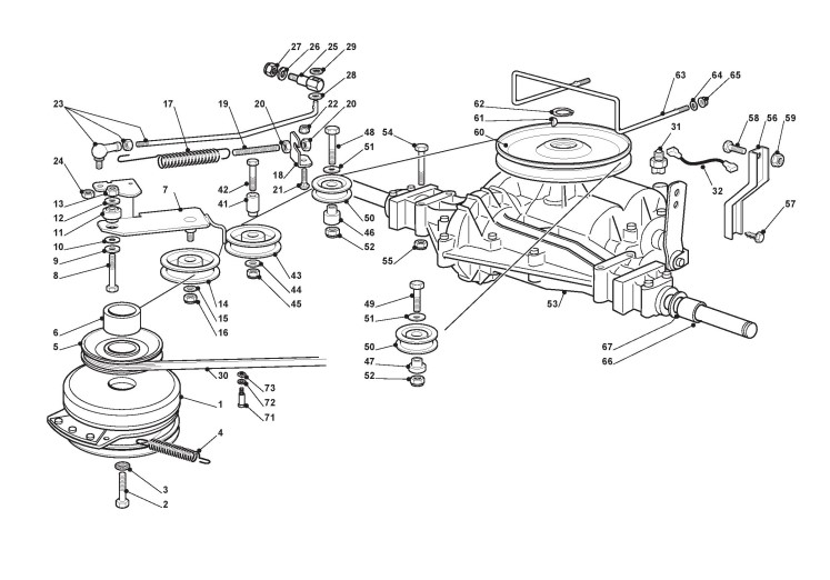
Getriebe mit elektromagnetischer Kupplung (1)

Zeichnungen von Stiga Aufsitzmäher ESTATE SENATOR mit Geräte Nr. 299954381/VTI ab Baujahr 2008

Zeichnung


Beachten Sie bitte, dass die Gerätebezeichnung Stiga Aufsitzmäher ESTATE SENATOR, das Baujahr ab 2008 und die Geräte Nr. 299954381/VTI lauten muss, denn nur so kann sichergestellt werden, dass das Ersatzteil passt.
Nur die hier aufgeführten Ersatzteile sind für dieses Gerät verfügbar. Alle anderen Ersatzteile sind nicht mehr lieferbar.
Ersatzteile von Stiga Aufsitzmäher ESTATE SENATOR (Geräte-ID 299954381/VTI) ab 2008:
Artikel 1 - 48 von 48


Artikel 1 - 48 von 48