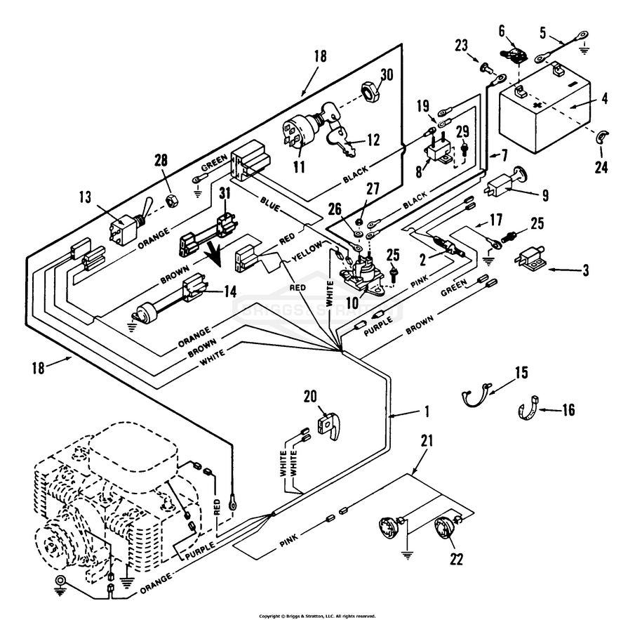
Electronic System Components

Zeichnung Snapper 82048 - LT12412, 41" 12.5 HP Disc Drive Tractor Series 2 aus der Zeichnungsgruppe Electronic System Components:

Zeichnung

Sollten Sie Fragen zu einem Ersatzteil haben, können Sie uns gerne eine Ersatzteilanfrage stellen.

Hier finden Sie alle Ersatzteile von Snapper 82048 - LT12412, 41" 12.5 HP Disc Drive Tractor Series 2 der Zeichnungsgruppe Electronic System Components:
Artikel 1 - 20 von 21


Artikel 1 - 20 von 21