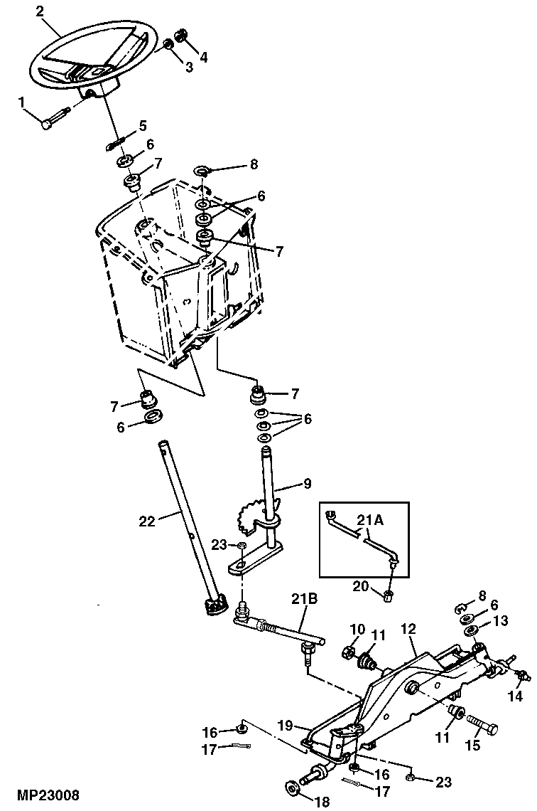
DtlLenkrad und Vorderachse - ST643984

Ersatzteile für Sabo Rasentraktoren Heckauswurf SABRE 1438GS and 1438HS and EUROPRO 1438GS - PC2675

Zeichnung

Sollten Sie Fragen zu einem Ersatzteil vom Sabo Rasentraktoren Heckauswurf SABRE 1438GS and 1438HS and EUROPRO 1438GS - PC2675 haben, können Sie uns gerne eine E-Mail (mit einem Foto vom Typenschild Ihres Gerätes) schreiben oder eine Ersatzteilanfrage stellen.

Folgende Ersatzteile für Sabo Rasentraktoren Heckauswurf SABRE 1438GS and 1438HS and EUROPRO 1438GS - PC2675 können Sie hier bestellen:
Artikel 1 - 20 von 25


Artikel 1 - 20 von 25