Doppelflanschstutzen | 3755 011

Ersatzteile für Agria # Einachser # agria 3700 # Art-Nr 3700621 | agria 3700 # Zubehör # Doppelflanschstutzen | 3755 011

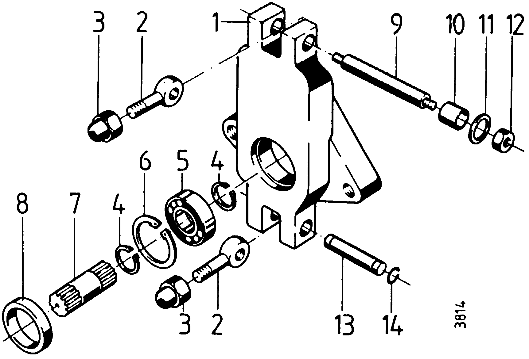
Zeichnung

Sollten Sie Fragen zu einem Ersatzteil für Agria Einachser haben, können Sie uns gerne eine E-Mail (mit einem Foto vom Typenschild Ihres Gerätes) schreiben oder eine Ersatzteilanfrage stellen.

Folgende Ersatzteile für Agria # Einachser # agria 3700 # Art-Nr 3700621 | agria 3700 # Zubehör # Doppelflanschstutzen | 3755 011 können Sie hier bestellen:
Artikel 1 - 11 von 11


Artikel 1 - 11 von 11