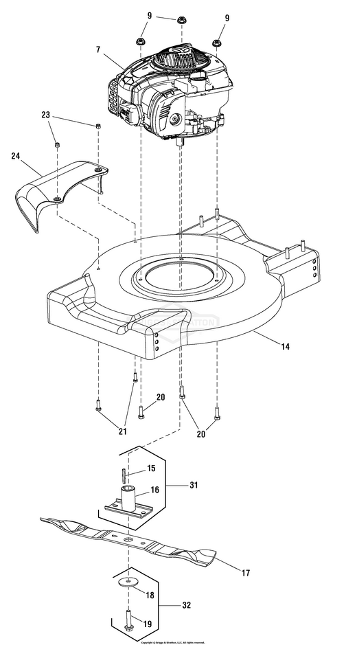
Deck und Messer

Zeichnung Murray Rasenmäher 866079-00 - MP450D20, 450E Series 20" Walk Behind Mower:

Zeichnung 1

Sollten Sie Fragen zu einem Ersatzteil haben, können Sie uns gerne eine Ersatzteilanfrage stellen.

Hier finden Sie alle Ersatzteile von Murray Rasenmäher 866079-00 - MP450D20, 450E Series 20" Walk Behind Mower der Zeichnungsgruppe Deck und Messer:
Artikel 1 - 11 von 11


Artikel 1 - 11 von 11