Bremse und Wechsel Antrieb (2)

Zeichnungen von Stiga Aufsitzmäher ESTATE PRO 20 mit Geräte Nr. 299941981/08 ab Baujahr 2008

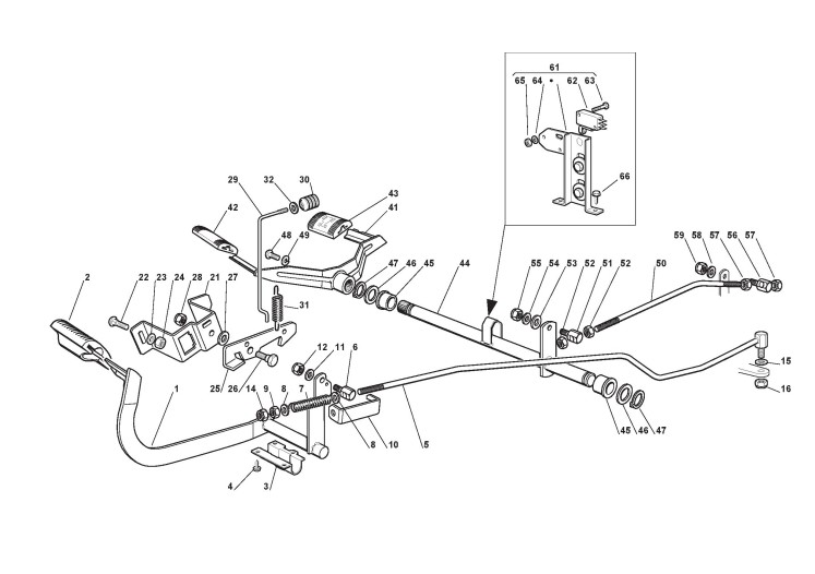
Zeichnung


Beachten Sie bitte, dass die Gerätebezeichnung Stiga Aufsitzmäher ESTATE PRO 20, das Baujahr ab 2008 und die Geräte Nr. 299941981/08 lauten muss, denn nur so kann sichergestellt werden, dass das Ersatzteil passt.
Nur die hier aufgeführten Ersatzteile sind für dieses Gerät verfügbar. Alle anderen Ersatzteile sind nicht mehr lieferbar.
Ersatzteile von Stiga Aufsitzmäher ESTATE PRO 20 (Geräte-ID 299941981/08) ab 2008:
Artikel 1 - 6 von 6


Artikel 1 - 6 von 6