Anbau-Schneeräumer 80 cm 4396 011

Ersatzteile für Agria # Balkenmäher # agria 5100 # Art-Nr 5100321 | agria 5100 Rabbit # Zubehör # Anbau-Schneeräumer 80 cm 4396 011

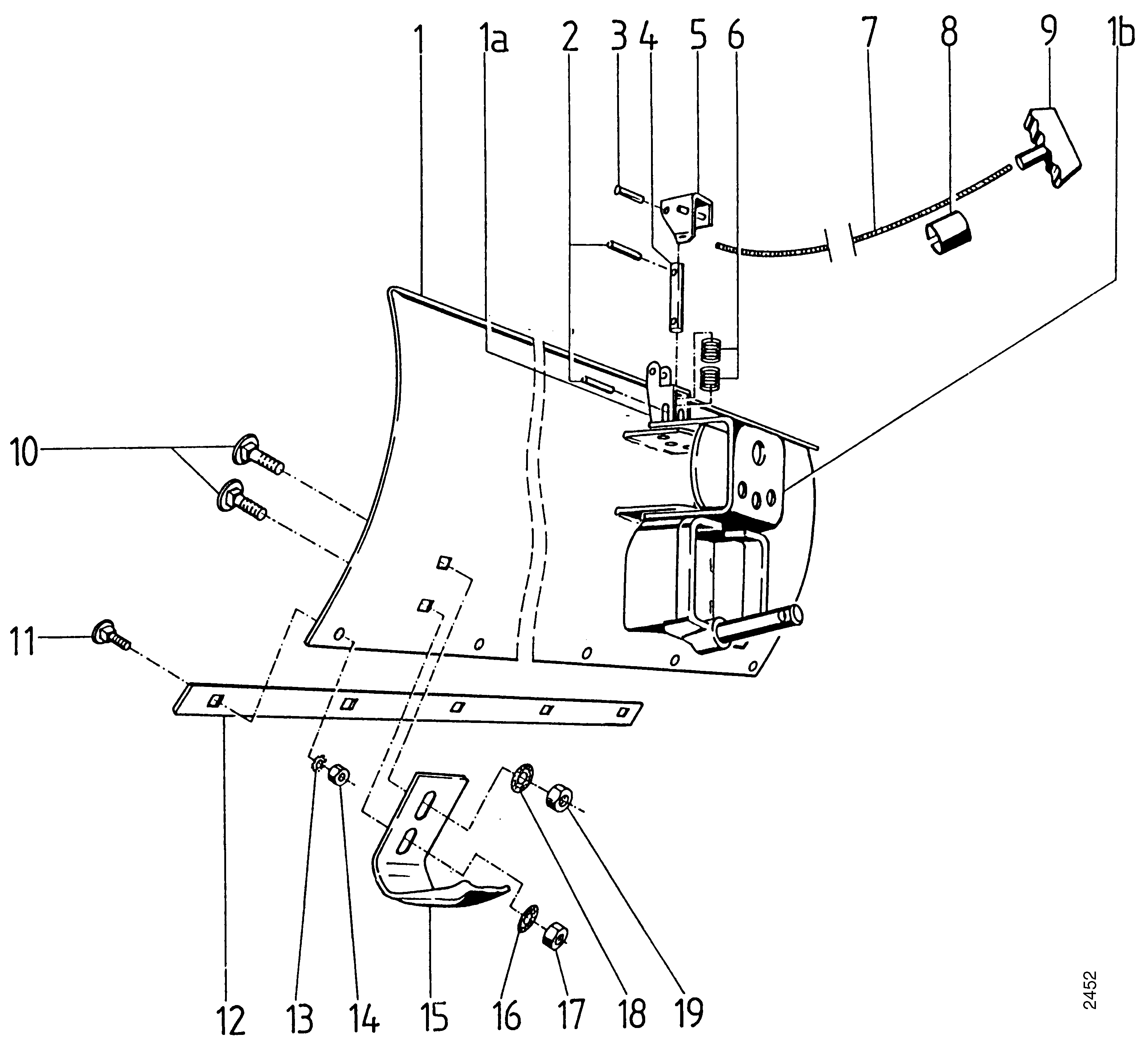
Zeichnung

Sollten Sie Fragen zu einem Ersatzteil für Agria Balkenmäher haben, können Sie uns gerne eine E-Mail (mit einem Foto vom Typenschild Ihres Gerätes) schreiben oder eine Ersatzteilanfrage stellen.

Folgende Ersatzteile für Agria # Balkenmäher # agria 5100 # Art-Nr 5100321 | agria 5100 Rabbit # Zubehör # Anbau-Schneeräumer 80 cm 4396 011 können Sie hier bestellen:
Artikel 1 - 21 von 21


Artikel 1 - 21 von 21