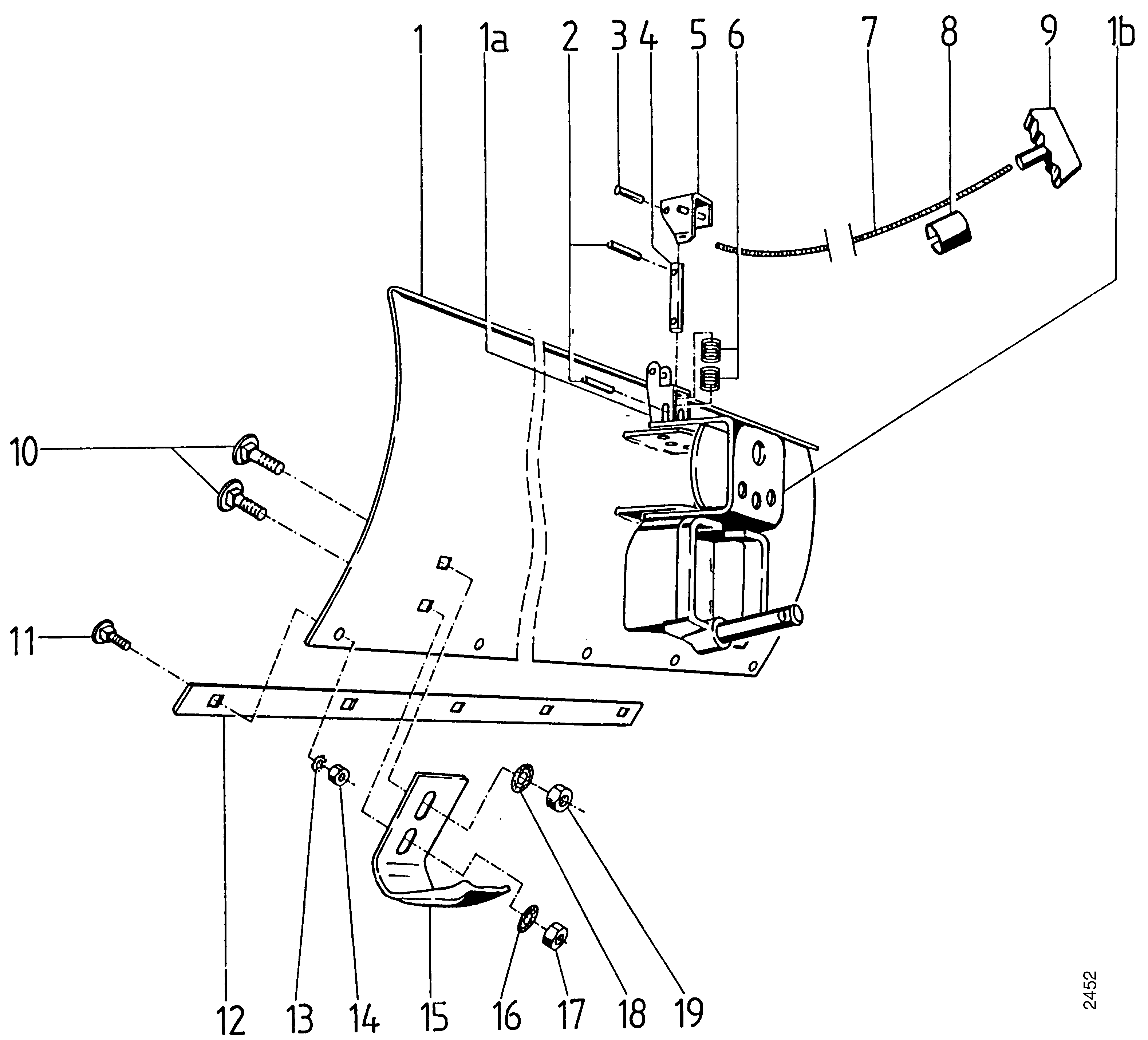
Anbau-Schneeräumer | 5396 011 < 2002

Ersatzteile für Agria # Balkenmäher # agria 5300 # Art-Nr 5300231 | agria 5300 O BALK M RAD 4T 3,2KW # Zubehör # Anbau-Schneeräumer | 5396 011 < 2002

Zeichnung

Sollten Sie Fragen zu einem Ersatzteil für Agria Balkenmäher haben, können Sie uns gerne eine E-Mail (mit einem Foto vom Typenschild Ihres Gerätes) schreiben oder eine Ersatzteilanfrage stellen.

Folgende Ersatzteile für Agria # Balkenmäher # agria 5300 # Art-Nr 5300231 | agria 5300 O BALK M RAD 4T 3,2KW # Zubehör # Anbau-Schneeräumer | 5396 011 < 2002 können Sie hier bestellen:
Artikel 1 - 19 von 19


Artikel 1 - 19 von 19